Navrhování betonových konstrukcí s FRP výztuží podle Eurokódů
Přehrát audio verzi
Navrhování betonových konstrukcí s FRP výztuží podle Eurokódů
00:00
00:00
1x
- 0.25x
- 0.5x
- 0.75x
- 1x
- 1.25x
- 1.5x
- 2x
Nová verze EC2 umožňuje i navrhování betonových konstrukcí s vnitřní nekovovou výztuží. Cílem tohoto příspěvku je upozornit na základní rozdíly mezi navrhováním konstrukcí s výztuží z vlákny vyztužených kompozitů (Fiber Reinforced polymers, FRP) a výztuží kovovou. Vzhledem k omezenému rozsahu příspěvku se zabýváme pouze vybranou problematikou mezních stavů únosnosti a použitelnosti.
1. Složení FRP výztuží
FRP výztuž je kompozit složený minimálně ze dvou komponent: nosných vláken a polymerní matrice.
Vlákna pro vnitřní FRP výztuže se používají nejčastěji skleněná nebo uhlíková, na trhu jsou i vlákna čedičová. Skleněných i uhlíkových vláken je celá řada typů; liší se jak fyzikálními, tak i chemickými vlastnostmi; pracovní diagramy vláken a kovových výztuží jsou schematicky zakresleny na Obr. 1 a Obr. 2.
Polymerní matrice může být termoplastická či termosetická; ilustrativní pracovní diagram je na Obr. 2. Pro termosetické matrice se nejčastěji používají polyesterové pryskyřice (tento materiál není vhodný pro dlouhodobé aplikace), vinylester anebo epoxid.
FRP výztuž vykazuje odlišné chování při jejím namáhání ve směru vláken a kolmo na vlákna, což bývá někdy při praktických výpočtech modelováno pomocí von Misesova kritéria, viz Obr. 3. Červeně jsou znázorněny naše výsledky a jejich aproximace pro konkrétní GFRP výztuž, kterou jsme na FAST VUT v Brně – v rámci řešení výzkumných úkolů MPO a TAČR – spolu s Prefou kompozity Brno vyvinuli a která je k dostání na našem trhu se stavebními materiály.
![Obr. 3: Změna hodnot pevnosti FRP výztuže při namáhání kombinací osové (tahové) síly a posouvající síly pro FRP a kovové výztuže, [5]](/docu/clanky/0296/029631o6.jpg)
Obr. 3: Změna hodnot pevnosti FRP výztuže při namáhání kombinací osové (tahové) síly a posouvající síly pro FRP a kovové výztuže, [5]
Základní krátkodobé mechanické vlastnosti FRP výztuže (a jejich srovnání s klasickou kovovou výztuží) jsou uvedeny v Tab. 1.
Tab. 1: Krátkodobé mechanické vlastnosti FRP a kovové výztuže, [5]
2. Rozsah a oblast použití FRP výztuže v betonových konstrukcích
FRP výztuž v betonových konstrukcích lze použít/navrhovat dle [1], přílohy R
- pokud je FRP výztuž profilovaná nebo zdrsněná, resp. ve formě sítí se skleněnými anebo uhlíkovými vlákny,
- konstrukce je vystavená převážně statickému zatížení,
- beton je s normálním kamenivem1.
Předpjatou FRP výztuž nelze dle přílohy R normy [1] navrhovat.
Dle přílohy R [1] lze FRP vnitřní výztuž v betonových konstrukcích navrhovat v případě, že jsou splněny následující limity:
- modul pružnosti FRP výztuže EfR ≥ 40 000 MPa,
- poměr ftfk,100a / EfR ≥ 0,005, kde ftfk,100a je návrhová dlouhodobá pevnost FRP výztuže,
- charakteristická pevnost betonu v tlaku fck ≥ 20 MPa,
- stupeň vyztužení ρlf ≤ 0,05, kde ρlf je poměr plochy soudržné podélné tažené výztuže Af navržené pro prvek vztažené k efektivní ploše betonového průřezu bw·d.
FRP výztuž může být použita v konstrukci pouze jako tažená výztuž!
3. Vlastnosti FRP výztuže jako podklad pro návrh dle [1]
Pro návrh betonové konstrukce s vnitřní FRP výztuží musí být k dispozici minimálně následující údaje pro FRP výztuže
- charakteristická pevnost v tahu FRP výztuže fftk0 při mezním přetvoření εftk0 určena v souladu s normou ISO 10406-1,
- návrhová hodnota modulu pružnosti FRP výztuže EfR určena v souladu s normou ISO 10406-1;
tyto hodnoty projektantovi dodává a garantuje výrobce, resp. dovozce. Pro zkoušení FRP výztuží již vyšel EAD, viz [8], který se v mnohém odkazuje na [3].
Příloha R stanoví pravidla pro návrh prvků vyztužených vnitřní FRP výztuží v rámci následujících limitů deklarovaných vlastností stanovených v souladu s normou ISO 10406 nebo příslušnými produktovými normami
- minimální poměr dlouhodobé (degradací ovlivněné) a krátkodobé pevnosti při zkoušce odolnosti vůči alkáliím bez napětí podle normy ISO 10406-1 nebo příslušných produktových norem musí být větší než 0,7,
- minimální hodnota dlouhodobé pevnosti betonu v soudržnosti s FRP výztuží fbd,100a = 1,5 MPa.
Pro zajištění/ověření vlastností předpokládaných v návrhu konstrukce by měly být k dispozici následující vlastnosti FRP výztuže:
- průřezové rozměry a tolerance rozměrů,
- minimální charakteristická krátkodobá pevnost v tahu,
- minimální charakteristická dlouhodobá pevnost v tahu,
- modul pružnosti,
- dlouhodobá pevnost v soudržnosti fbd,100a,
- přetvoření FRP smykové výztuže εfwRd při návrhové pevnosti v tahu smykové FRP výztuže ffwRd,
- teplota při instalaci,
- maximální teplota FRP výztuže po dobu návrhové životnosti konstrukce,
- minimální teplota FRP výztuže po dobu návrhové životnosti konstrukce,
- klasifikace expozice v souladu s tabulkou charakterizující třídy podmínek působení (viz tab. 6.1 [1]),
- požadavky na trvanlivost.
Návrh dle EN 1992-1-1 přílohy R je použitelný pro aplikace s maximální dlouhodobou teplotou 40 °C. Krátkodobě lze však připustit teploty až 65 °C, např. vlivem slunečního záření, hydratace nebo jiných účinků působících pouze po časově omezenou/krátkou dobu. Poznamenejme ale, že při námi provedených zkouškách betonových panelů vyztužených předpjatou a zejména nepředpjatou FRP výztuží2 bylo dosaženo při zatěžování teplotou dle normové požární křivky požární odolnosti 60 až 90 min [6].
Pokud není výrobcem stanoveno přesněji, lze při výpočtech používat pro FRP výztuž následující údaje
- průměrná hustota FRP
- 2 000 kg/m3 pro GFRP výztuž
- a 1 650 kg/m3 pro CFRP výztuž,
- koeficient tepelné roztažnosti v podélném směru
- αFRP,th = 5 × 10−6 K−1 pro GFRP tyče
- a αFRP,th = 0 K−1 pro CFRP tyče.
Vzhledem k tomu, že krátkodobé a dlouhodobé vlastnosti FRP výztuže se významně liší, určí se dlouhodobá návrhová pevnost platná pro konstrukce s projektovanou životností 100 let fftk,100a buď přímo z dat/podkladů výrobce anebo ji lze získat pomocí vzorce
kde je
- fftk0
- charakteristická pevnost FRP výztuže při porušení tahem při krátkodobé zkoušce,
- Ct
- faktor zohledňující teplotní vlivy. Platí Ct = 1,0 pro vnitřní a podzemní prostředí, Ct = 0,8 pro venkovní prvky, pokud nelze vyloučit ohřev slunečním zářením3,
- CC
- koeficient vyjadřující poměr pevnosti při trvalém zatížení a pevnosti při krátkodobém zatížení. Lze jej určit dle normy ISO 10406-1 [3], kapitola 12. Platí CC = 0,35 pro výztuž GFRP a 0,8 pro CFRP výztuž, pokud nejsou stanoveny přesnější hodnoty,
- Ce
- koeficient vyjadřující poměr pevnosti zohledňující stárnutí výztuže a pevnosti bez zohlednění stárnutí. Lze jej určit zkouškami popsanými v normě ISO 10406-1 [3], kdy je výztuž vystavena teplotě 60 °C po dobu 3000 hodin. Pokud nejsou stanoveny přesnější hodnoty, lze uvažovat Ce = 0,7.
Návrhovou pevnost v tahu vnitřní FRP výztuže fftd stanovíme dle vztahu
kde je
- γFRP
- součinitel spolehlivosti FRP výztuže, který se uvažuje
- γFRP = 1,50 pro trvalou a dočasnou návrhovou situaci,
- γFRP = 1,10 pro mimořádnou návrhovou situaci,
- γFRP = 1,00 pro mezní stav použitelnosti.
![Obr. 4: Závislost životnosti GFRP výztuže na hladině dlouhodobě působícího zatížení vyjádřená v hodinách (v log měřítku), 106 hodin = cca 114 let, [7]](/docu/clanky/0296/029631o12.png)
Obr. 4: Závislost životnosti GFRP výztuže na hladině dlouhodobě působícího zatížení vyjádřená v hodinách (v log měřítku), 106 hodin = cca 114 let, [7]
V případě zabudování zakřivených FRP prutů musí být zohledněn vliv jejich zakřivení na mechanické charakteristiky, viz Obr. 5 [5].
![Obr. 6: Pracovní diagram FRP výztuže dle [1]](/docu/clanky/0296/029631o14.png)
Obr. 6: Pracovní diagram FRP výztuže dle [1]
4. Analýza konstrukce
Analýza konstrukce má za cíl stanovit rozložení vnitřních sil, napětí, deformací a posunů v konstrukci nebo její části. Pro výpočet konstrukcí s vnitřní FRP výztuží lze využít lineárně elastické modely, případně nelineární modely se zohledněním lineárního chování výztuže s návrhovou pevností a odpovídající návrhovou deformací při přetržení – viz Obr. 6.
Pokud jsou rovné FRP tyče instalované v zakřiveném tvaru, pak se deformací vyvolané ohybové napětí uvažuje jako stálé zatížení.
Výpočet/návrh konstrukce pomocí modelů SaT (modely Strut and Tie) nelze v případě konstrukcí s vnitřní FRP výztuží použít.
5. Krytí betonu, trvanlivost
Jmenovité krytí je definováno jako minimální krytí cmin zvětšené o odchylku Δcdev (viz 6.5.3 [1])
Návrh [1] uvádí pro výpočet minimální tloušťky krycí vrstvy vztah
kde je
- cmin,dur
- minimální krytí požadované pro stupně vlivu prostředí – pro konstrukce s FRP výztuží lze uvažovat cmin,dur = 0,
- ΣΔc
- součet možných navýšení či snížení krycí vrstvy v důsledku požadované životnosti, způsobu provedení aj. – pro konstrukce s vnitřní FRP výztuží lze většinou uvažovat ΣΔc = 0,
- cmin,b
- minimální krytí z důvodu soudržnosti – pro FRP výztuž lze uvažovat cmin,b = 2ϕ pokud nejsou k dispozici výsledky testů.
Minimální krytí pro vnitřní FRP výztuž průměru ϕ by se však mělo uvažovat
Při návrhu je nezbytné zabránit přímému kontaktu uhlíkových FRP výztužných tyčí s ocelovou výztuží.
6. Mezní stavy únosnosti (MSÚ)
Není cílem tohoto příspěvku detailně popsat rozdíly ve výpočtu prvků vyztužených kovovou a FRP výztuží. Budou uvedeny jen základní informace.
6.1 Namáhání ohybovým momentem, resp. ohybovým momentem a normálovou silou
Předpoklady výpočtu průřezu namáhaného normálovou silou a ohybovým momentem se přechodem k nové verzi EC2 nemění, tj. předpokládá se
- rovinné průřezy před deformací zůstávají rovinné i po deformaci, tj. lineární průběh přetvoření po výšce průřezu,
- dokonalá soudržnost betonu a vnitřní FRP výztuže, tj. přetvoření výztuže je shodné s přetvořením ji obklopujícího betonu,
- napětí v tažené části betonového průřezu se zanedbává,
- napětí v betonu v tlaku se stanoví z návrhových pracovních diagramů betonu – viz Obr. 7,
- napětí ve FRP výztuži se stanoví z návrhového pracovního diagramu výztuže – Obr. 6.
![Obr. 7: a) Průběh přetvoření a napětí v tlačené části betonového průřezu; b) poměrné přetvoření, c) parabolicko-rektangulární rozložení napětí v tlačeném betonu, d) náhradní rovnoměrné rozložení napětí v části tlačeném betonu; [1]](/docu/clanky/0296/029631o19.png)
Obr. 7: a) Průběh přetvoření a napětí v tlačené části betonového průřezu; b) poměrné přetvoření, c) parabolicko-rektangulární rozložení napětí v tlačeném betonu, d) náhradní rovnoměrné rozložení napětí v části tlačeném betonu; [1]
Mezní stav je dosažen, pokud v alespoň jednom z extrémně namáhaných materiálů průřezu je dosaženo mezního poměrného přetvoření, tj.
- v tlačeném betonu hodnoty εcu ,
- v tažené FRP výztuži εfRd .
6.2 Smyk
Filozofie návrhu a posouzení prvků na smyk dle [1] opět zůstává podobná jako u první verze EC2, posouzení se ale provádí na úrovni smykového napětí, a nikoliv posouvající síly. Rozlišujeme prvky bez smykové výztuže a prvky se smykovou výztuží.
Při stanovení vztahů, které jsou aplikovatelné pro prvky s vnitřní FRP výztuží se vychází z předpokladu, že spolehlivý prvek navržený s FRP výztuží by měl mít stejnou odolnost5 jako prvek vyztužený kovovou výztuží6. Pokud označíme As (resp. Af) plochu výztuže prvku s kovovou (resp. FRP) výztuží, pak pro spolehlivý návrh prvku s FRP výztuží, který bude odvozen z návrhu prvku s kovovou výztuží, by mělo platit, že síla přenášená kovovou výztuží Fs se rovná síle přenášené FRP výztuží Ff a přetvoření prvku s kovovou (resp. FRP) výztuží εs (resp. εf ) by si měla být rovna.
Ze vztahu
za předpokladu εs = εf plyne
σf / σs = As / Af = Ef / Es ,
1 / σs = (Ef / Es )·(1 / σf ). (7)
6.2.1 Smykové napětí od zatížení
Smykové napětí od zatížení určíme u prutových prvků, resp. u plošných prvků ze vztahu
kde je
- VEd , resp. vEd
- návrhová smyková síla v posuzovaném průřezu prutového prvku,
- bw
- šířka průřezu prutového prvku,
- z
- rameno vnitřních sil, pro výpočet smykového napětí je definované jako z = 0,9d, kde d je účinná výška průřezu.
6.2.2 Prvky bez smykové výztuže
Výpočet únosnosti prvků bez smykové výztuže vychází z teorie kritické trhliny [4], který oproti stávajícímu vztahu v EC2 první generace zohledňuje vliv drsnosti zóny porušení (tj. v trhlině), která je dána velikosti zrn kameniva, v poměru k výšce průřezu.
Prvky bez smykové výztuže (ale vyztužené podélnou výztuží) lze bez dalšího detailního ověřování navrhovat v případě, že smykové napětí od extrémního zatížení τEd je menší než minimální smyková únosnost betonu τRdc,min
V odst. 8.2.1 [1] je pro prvky bez smykové výztuže vyztužené klasickou betonářskou výztuží uveden vztah
kde je
- γV
- parciální součinitel pro návrh smyku podle tabulky 4.3 (NDP) nebo tabulek A.1 (NDP) a A.2 (NDP) [1]. Pro kovovou i FRP výztuž je γV = 1,4 pro kvazistálou a dočasnou návrhovou situaci,
- fyd
- návrhová hodnota meze kluzu ohybové výztuže (zde jde o betonářskou výztuž),
- d
- efektivní výška průřezu (vzdálenost těžiště výztuže od tlačeného povrchu),
- ddg
- velikostní parametr popisující drsnost zóny porušení, který závisí na typu betonu a na vlastnostech kameniva (konkrétně na nejmenší předepsané hodnotě velikosti horního síta D pro nejhrubší složku kameniva v betonu povolený specifikací betonu).
Vztah (10) vychází z předpokladu, že podélná výztuž při vzniku kritické trhliny je na mezi kluzu. Pokud aplikujeme předchozí úvahu o stejné odolnosti prvků vyztužených kovovou a FRP výztuží a poslední ze vztahů (7) na (10), získáme vztah platný pro výpočet τRdc,min pro prvky s podélnou FRP výztuží
V oblastech prvku, ve kterých platí podmínka
kde τRd,c je smyková odolnost prvku bez smykové výztuže, není potřeba navrhnout staticky nutnou smykovou výztuž (může být ale nutná z důvodu splnění požadavků konstrukčních zásad). Pro ocelovou podélnou výztuž platí
kde je
- ρl
- stupeň vyztužení podélnou výztuží v tažené zóně průřezu navržené na ohyb
,
(14)
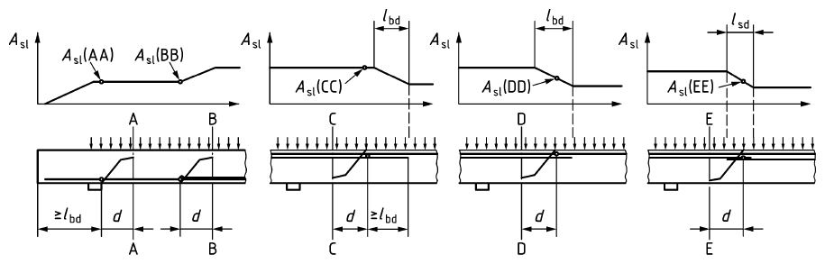
- Asl
- efektivní plocha (ocelové) tahové výztuže ve vzdálenosti d za uvažovaným průřezem (viz obrázek Obr. 8),
- bw
- šířka průřezu prutového prvku dle Obr. 10.
![Obr. 8: Definice plochy Asl pro stanovení stupně vyztužení podélnou výztuží. Řezy A–A, C–C: zakotvenou a zkrácenou výztuž je možno započítat plně; řez B–B: zkrácenou výztuž nelze zohlednit; řezy D-D a E–E: zkrácenou nebo výztuž stykovanou přesahem lze zohlednit částečně; [1]](/docu/clanky/0296/029631o29.png)
Obr. 8: Definice plochy Asl pro stanovení stupně vyztužení podélnou výztuží. Řezy A–A, C–C: zakotvenou a zkrácenou výztuž je možno započítat plně; řez B–B: zkrácenou výztuž nelze zohlednit; řezy D-D a E–E: zkrácenou nebo výztuž stykovanou přesahem lze zohlednit částečně; [1]
Pro stanovení τRdc pro prvky vyztužené FRP výztuží vyjdeme ze vztahu (13); použijeme vztah (14), do kterého dosadíme za Asl první ze vztahů (7) a získáme
kde je
- 𝜌l = 𝜌f
- je stupeň vyztužení podélnou FRP výztuží dle vztahu (14), do kterého dosadíme místo Asl průřezovou plochu podélné FRP výztuže Afl.
Pokud je průřez zatížen tahovou silou a výška tlačené oblasti ve stadiu po vzniku trhliny je menší než 0,1d, tak vztah (15) nelze použít.
6.2.3 Návrh prvků se smykovou výztuží
Pro prvky nesplňující podmínku (12) musí být únosnost smykové výztuže navržena/ověřena výpočtem, tj. musí být prokázáno splnění vztahu
kde je
- τRd,f
- smyková únosnost prvku se smykovou FRP výztuží.
Návrh prvků se smykovou výztuží vychází z modelu, který je založen na teorii tlakových polí; vychází se z tlačené diagonály, která je od osy prvku skloněna o úhel θ, viz Obr. 9. Sklon tlačené diagonály je při použití FRP výztuže omezen na hodnotu cotθ = 0,8.
Celkovou smykovou únosnost τRd,f lze určit jako součet smykové únosnosti betonu a únosnosti třmínků
kde je
- τRd,c
- smyková únosnost betonu,
- 𝜌w
- stupeň vyztužení smykovou výztuží
,
(18)
- Afw
- plocha smykové FRP výztuže,
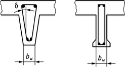
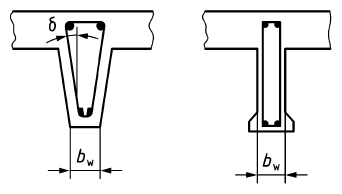
- bw
- minimální šířka průřezu uvažovaného pro výpočet smyk v oblasti mezi taženým pásem a neutrální osou – viz Obr. 10,
- s
- vzdálenost smykové výztuže (měřeno ve směru osy prutu/prvku),
- EfwR
- modul pružnosti třmínkové FRP výztuže,
- Afl
- plocha tažené podélné FRP výztuže (v případě desek se uvažuje průřez šířky 1 m),
- d
- účinná výška průřezu.
7. Mezní stavy použitelnosti (MSP)
Podobně jako v EC2 první generace jsou definovány MSP v EC2 G2 [1]. U konstrukcí s vnitřní FRP výztuží se posuzuje
- omezení napětí a šířky trhlin (viz 9.2 [1] pro ocelovou výztuž),
- velikost/omezení průhybu (viz 9.3 [1]),
s omezeními, která jsou definována v příloze R pro FRP výztuže a v příloze S [1]. Příloha R platí pro prvky s FRP výztuží vystavené převážně statickému zatížení a neposkytuje pravidla pro posouzení vibrací (tj. kapitola 10 a příloha E normy [1] se nevztahují na prvky s FRP výztuží).
Pro výpočty se používají lineárně pružné modely průřezu bez a s trhlinami. Princip výpočtu je stejný jako v předchozí verzi EC2; rozdíly jsou v součinitelích a v podrobnějších (mnohdy i komplikovanějších) vztazích definujících dílčí parametry.
Pro konstrukce s vnitřní FRP výztuží, na rozdíl od konstrukcí s kovovou výztuží, neplatí že
- není třeba omezovat jejich šířku v případě, že nenaruší funkčnost konstrukce,
- v případech, kdy šířka trhlin není kritická a limity šířky trhlin pro trvanlivost nejsou relevantní, lze ověření podle 9.2.2 a 9.2.3 [1] vynechat a lze předpokládat, že kontrola trhlin je zajištěna vložením minimální výztuže podle 12.2 [1].
Z toho plyne, že u konstrukcí s FRP výztuží je potřeba vždy provést výpočet šířky trhliny.
7.1 Omezení napětí a šířky trhlin
Požadavky na omezení napětí a šířky trhlin z důvodu vzhledu a trvanlivosti pro konstrukce vyztužené pouze FRP výztuží uvádí příloha R, viz Tab. 2 a Tab. 3; v případě kombinované výztuže platí tabulky 9.1 a 9.2 (NDP) [1].
| Posouzení | Výpočet minimálního vyztužení dle 9.2.2 | Ověření šířky trhlin dle 9.2.3 | Ověření napětí ve výztuži z důvodu zamezení porušení v MPS |
|---|---|---|---|
| Kombinace zatížení pro výpočet σf | Síly způsobující trhliny dle 9.2.2 | Kvazistálá kombinace zatížení | Charakteristická kombinace zatížení |
| Limitní hodnota šířky trhlin wlim,cal nebo σf | σf ≤ fftd | wlim,cal = 0,4 mm σf ≤ fftd | σf ≤ 0,8fftd |
| Pozn. Šířky trhlin jsou posuzovány na povrchu prvku, pokud národní příloha nestanoví jinak. | |||
| Třída expozice | Kombinace zatížení | |
|---|---|---|
| kvazistálá | charakteristická | |
| XC, XF, XD | wlim,cal = 0,4 mm c) | σc ≤ 0,6fck a) b) |
| ||
Limitní šířka trhliny pro konstrukce s vnitřní FRP výztuží pokud
- je požadováno splnění kritéria vzhledu i trvanlivosti je wlim,cal = 0,4 mm,
- se nepožaduje splnění podmínky vzhledu (tj. je požadováno pouze splnění kritéria trvanlivosti) je wlim,cal = 0,7 mm (detailněji viz Tab. 3).
Pokud tlaková napětí od kvazistálé kombinace účinků zatížení přesáhnou 0,40 fcm , měla by být pro výpočet účinků dotvarování použita nelineární teorie.
7.2 Minimální plocha výztuže
Minimální plocha výztuže se u prvků s ocelovou výztuží stanoví za předpokladu, že tahovou sílu v betonu, která v průřezu působí před vznikem trhliny, musí po vzniku trhliny přenést betonářská výztuž, ve které se předpokládá napětí na mezi kluzu.
I pro prvky vyztužené FRP výztuží platí obdobný předpoklad, takže při
- namáhání prostým ohybem
,
(21)
- namáhání prostým tahem
,
(22)
- namáhání normálovou silou NEd a ohybovým momentem MEd
,
,
(23)
kde je
- Ac
- plocha uvažované části průřezu (stojiny nebo příruby),
- Af,min,w1
- minimální plocha výztuže, která má být umístěna u nejvíce tažené líce průřezu,
- Af,min,w2
- minimální plocha výztuže, která má být umístěna u méně taženého líce průřezu,
- NEd
- návrhová osová síla v mezním stavu použitelnosti působící na uvažovanou část průřezu (kladná tahová síla);
- kh
- koeficient, který zohledňuje vliv nerovnoměrných rovnovážných napětí, která vedou ke snížení pevnosti v tahu, který lze uvažovat jako
,
(24)
- h a b
- rozměry uvažované části průřezu [m],
- fct,eff
- průměrná hodnota pevnosti v tahu betonu platná v okamžiku, kdy lze očekávat první výskyt trhlin.
7.3 Kontrola šířky trhlin výpočtem
Jak již bylo uvedeno, u konstrukcí s FRP výztuží je nutno vždy počítat a posuzovat šířku trhliny wk,cal. Konstrukce vyhovuje z hlediska šířky trhlin pokud
Fyzikální princip výpočtu šířky trhlin je i v druhé generaci normy [1] zachován. Šířka trhlin se vypočítá u konstrukcí s ocelovou výztuží dle vztahu
kde je
- kw
- součinitel převádějící střední hodnotu šířky trhliny na vypočítanou šířku trhliny7,
- k1/r
- koeficient zohledňující zvětšení šířky trhliny v důsledku zakřivení,
- sr,m,cal
- výpočtová průměrná vzdálenost trhlin v případě, že byl dokončen proces rozvoje trhlin na prvku (nové trhliny již v prvku nevznikají, pouze se prohlubují a rozšiřují trhliny stávající), anebo délka (pokud se nevytvořily všechny trhliny, tj. proces rozvoje trhlin na prvku nebyl ještě dokončen), na které dochází k prokluzu mezi betonem a výztuží v trhlině,
- εsm, resp. εcm,
- průměrné přetvoření ve výztuži, resp. v betonu přiléhajícímu k výztuži, která je nejblíže k nejvíce taženému povrchu betonu při relevantní kombinaci zatížení, včetně vlivu vnucených deformací a s přihlédnutím k účinkům tahového zpevnění.
Rozdíl poměrných přetvoření u konstrukcí s ocelovou výztuží εsm − εcm lze vypočítat podle vzorce
kde je
- σs
- napětí v tahové výztuži nejblíže k povrchu taženého betonu za předpokladu trhlinami porušeného průřezu. Pro prvek vystavený působení vynucené deformace, který má deformaci omezenou na jeho koncích, lze napětí ve výztuži odvodit z vnitřních sil působících na průřez. U prvků se soudržnou předpínací výztuží lze σs nahradit Δσp , tj. změnou základního napětí předpínací výztuže;
- αe
- poměr Es / Ecm ,
- As a Ap
- plocha nepředpjaté a předpjaté výztuže, umístěná v efektivní ploše Ac,eff . Způsoby určení efektivní tažené plochy Ac,eff jsou definovány na Obr. 118,
- kt
- koeficient závislý na délce a povaze zatížení:

Obr. 11: Efektivní tažená plocha betonu Ac,eff . Legenda: a) až c) dominantní ohybové namáhání (část průřezu tlačená, část tažená); d) až f) dominantní namáhání normálovou silou (celý průřez tažený); a) výztuž v tažené oblasti, skupina prutů; b) „řídká“ výztuž v tažené oblasti, samostatné pruty; c) kruhový průřez; d) výztuž umístěna u horního a dolního okraje průřezu; e) „řídká“ výztuž v tažené oblasti, samostatné pruty; d) pruty umístěny po celém obvodu průřezu
Průměrnou vzdálenost trhlin (po dokončení jejich rozvoje) sr,m,cal lze vypočítat jako
kde je
- kfl
- součinitel zohledňující způsob převažujícího zatížení průřezu (dominantní je buď namáhání normálovou silou anebo ohybovým momentem),
- kb
- součinitel charakterizující soudržnost výztuže s betonem; k̀b = 1,2 pro špatné podmínky, k̀b = 0,9 pro dobré podmínky,
- ϕ
- průměr výztuže, resp. ekvivalentní průměr výztuže,
- c
- tloušťka krycí vrstvy.
Pro výpočet šířky trhliny konstrukcí s FRP výztuží se opět vychází z konceptu stejného přetvoření a stejných sil ve FRP a kovové výztuži, který byl popsán v úvodu odst. 6.2 – vztahy (6). Získáme
kde
se dosadí i do (29).
7.4 Výpočet průhybu
Zatím co u konstrukcí s kovovou výztuží lze průhyby posuzovat/prokázat
- zjednodušeným posouzením/ověřením pomocí ohybové štíhlosti, viz 9.3.2,
- nebo zjednodušeným výpočtem průhybu, viz 9.3.3,
- anebo (obecně) podrobnějším výpočtem průhybu, viz 9.3.4,
tak u konstrukcí s FRP smíme použít pouze poslední metodu, tedy podrobnější ověření výpočtem.
Kombinace zatížení uvažovaná ve výpočtu a limitní hodnoty průhybu uvádí EN 1990 [2], jejíž začátek platnosti je shodný s EC2 G2 [1].
Princip výpočtu je podobný principu výpočtu ve stávající platné normě. Zohledňuje se vznik trhlin a tuhost odpovídající – v případě, že vzniknou trhliny – potrhanému průřezu s vlivem působení taženého betonu mezi trhlinami (tahového zpevnění).
Poměrné přetvoření, křivost, poddajnost, průhyb, resp. jiná veličina αδ, závislá na tom, do jaké míry je prvek porušen trhlinami (tj. jaký je vliv taženého betonu mezi nimi), se stanoví dle vztahu
kde jsou
- αI, αII
- hodnoty dané veličiny vypočítané pro trhlinami neporušený průřez a za předpokladu trhlinami plně porušeného průřezu,
- ζ
- rozdělovací koeficient zohledňující spolupůsobení taženého betonu mezi trhlinami
,
(34)
resp.
,
(35)
ζ = 0 pro průřezy bez trhlin; - βt
- koeficient zohledňující vliv doby trvání zatížení nebo opakování zatížení na průměrné napětí; může být uvažován rovný βt = 1,0 pro jednorázové krátkodobé zatížení anebo βt = 0,5 pro dlouhodobé zatížení nebo mnohonásobně opakované zatížení,
- σs (σf)
- napětí v tažené ocelové (FRP) výztuži stanovené pro průřez s trhlinou,
- σsr (σfr)
- napětí v tažené ocelové (FRP) výztuži stanovené pro průřez s trhlinou ze zatížení na mezi vzniku trhlin.
Pozn.: σsr/σs , resp. σfr/σf lze nahradit Mcr /M pro prostý ohyb nebo Ncr /N pro prostý tah, kde Mcr je moment na mezi vzniku trhlin a Ncr je osová síla na mezi vzniku trhlin.
Pro výpočet průhybů u konstrukcí namáhaných převážně ohybem lze hodnotu fct,eff uvažovat jako fctm,fl
za předpokladu, že výpočet minimální plochy výztuže v odst. 7.2 pro kontrolu trhlin používá stejnou hodnotu; h se dosazuje v [mm].
Pro výpočet napětí a průhybů lze pro zjednodušené stanovení dlouhodobých účinků použít efektivní modul pružnosti betonu Ec,eff
Poděkování
Příspěvek vznikl za podpory mezinárodního projektu TOP – Crete M-ERA.NET Call 2022, který je financován v rámci Národního plánu obnovy z Evropského nástroje pro oživení a odolnost a je kofinancován TAČR (projekt TH82020005) a projektu TAČR v soutěži DOPRAVA 2030 CL02000171.
Literatura
- ČSN EN 1992-1-1 ed. 3:2025 Eurokód 2: Navrhování betonových konstrukcí – Část 1-1: Obecná pravidla a pravidla pro pozemní stavby, mosty a inženýrské konstrukce. Účinnost od 10/2027.
- ČSN EN 1990 ed. 3:2024 Eurokód –Zásady navrhování konstrukcí a geotechnických staveb. Účinnost od 10/2027.
- ISO 10406-1:2025 Fibre-reinforced polymer (FRP) reinforcement of concrete – Test methods, Part 1: FRP bars.
- Background document to FprEN 1992-1-1:2023-04 (Formal-Vote-Draft): Eurocode 2 – Design of concrete structures – Part 1-1: General rules and rules for buildings, bridges and civil engineering structures, CEN/TC 250/SC 2 N2087.
- F. Girgle: Krátkodobé a dlouhodobé fyzikální a mechanické vlastnosti vnitřní FRP výztuže při aplikaci v betonových konstrukcích. Navrhování betonových konstrukcí s vnitřní FRP výztuží. ČBS akademie, Brno březen 2025.
- M. Zlámal, Đ. Čairović: Chování FRP výztuže exponované vysokým teplotám a požárnímu namáhání. Navrhování betonových konstrukcí s vnitřní FRP výztuží. ČBS akademie, Brno březen 2025.
- Benmokrane, B., Brown, V., Mohamed, K., Nanni, A., Rossini, M., Shield, C.: Creep-Rupture Limit for GFRP Bars Subjected to Sustained Loads; Online. Journal of Composites for Construction, vol. 23(2019), no. 6, dostupné ASCE library
https://doi.org/10.1061/(ASCE)CC.1943-5614.0000971. - EAD 260023-00-301 Carbon, glass, bazalts and aramid fibre reinforced polymer bars as reinforcement of structural elements (2019), schválen 2024.
Poznámky
1 Není použito ani lehké, ani recyklované kamenivo. ... Zpět
2 Jde o výsledky výzkumu týmu z Ústavu betonových a zděných konstrukcí FAST VUT probíhajícího od roku 2012 dosud. ... Zpět
3 Další pokyny pro odhad Ct lze nalézt v bulletinu fib 40. ... Zpět
4 K podobným jevům, tj. k zakřivení vláken, dochází i u termoplastických výztuží. ... Zpět
5 Týká se především mezních stavů použitelnosti a předpokladů pro stanovení stavu napjatosti a přetvoření podélné výztuže v místě vzniku smykové trhliny (platí mezní stav únosnosti ve smyku prvků bez smykové výztuže). ... Zpět
6 Tento předpoklad je (zatím) přijat vzhledem k tomu, že na rozdíl od betonových konstrukcí vyztužených vnitřní kovou výztuží je pro konstrukce vyztužené vnitřní FRP výztuží k dispozici (zatím) daleko méně informací o jejich chování (tj. výsledků experimentů i chování reálných konstrukcí). Je však nutno upozornit, že na základě řady výsledků se jedná o velice konzervativní předpoklad. ... Zpět
7 Pokud národní příloha (NA) neuvádí jinou hodnotu, je kw = 1,7. ... Zpět
8 Další podrobnosti, definice jednotlivých symbolů na Obr. 11 je v [1]. ... Zpět
9 Rozvoj trhlin v prvku není ukončen; vznikají nové trhliny. ... Zpět
10 Rozvoj trhlin je ukončen, nové trhliny nevznikají, pouze se stávající prohlubují a rozšiřují. ... Zpět
![Obr. 1: Pracovní diagramy různých typů výztuží a FRP vláken, [5]](/docu/clanky/0296/029631o2.jpg)
![Obr. 2: Schematické pracovní diagramy vláken a matrice FRP výztuží, [5]](/docu/clanky/0296/029631o4.png)
![Tab. 1: Krátkodobé mechanické vlastnosti FRP a kovové výztuže, [5]](/docu/clanky/0296/029631o8.png)
![Obr. 5: Změna geometrie vláken u ohýbané termosetické výztuže, [5]](/docu/clanky/0296/029631o13.png)
![Obr. 9: Schéma pro výpočet smykové výztuže; [1]](/docu/clanky/0296/029631o33.png)
![Obr. 10: Definice bw dle [1]](/docu/clanky/0296/029631o39.png)